SB studları CE’ye uyumlu ve tamamen onaylıdır (European Technical Approval ETA-11/0120). Moder multi-stage preslerde yapılan imalatlar düşük maliyette yüksek kalite elde etmeyi sağlar.
    CE
    SB studları CE uygunluğuna sahiptir. Yapı Malzemeleri Yönetmeliğinin (Regulation (EC) No. 305/2011 of the European Parliament and of the Council of 9 March 2011) bütün gereksinimlerini karşılamaktadır.

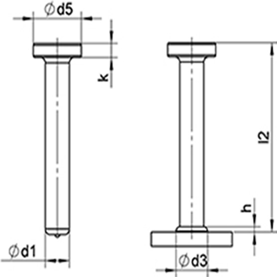
    Mevcut Ölçüler

     d1 (mm)

     l2 (mm)

     d5 (mm)

     k (mm)

    10

    50-250

    19

    7,1

    13

    50-400

    25

    8

    16

    50-525

    32

    8

    19

    50-525

    32

    10

    22

    75-525

    35

    10

    25

    75-525

    41

    12